پس از کنفرانس توسعه دهندگان اپل که هفته گذشته برگزار شد پرسش این است که نسل دوم اسمارت واچ این کمپانی چه زمانی عرضه خواهد شد؟ ماه ها است شایعاتی در خصوص اپل واچ های جدید در فضای وب به گوش می رسد و در WWDC 2016 نیز چیزهایی بیش از بندهای جدید و تغییراتی در قیمت گذاری شنیدیم و بر آن اساس امیدواریم که اپل نسل دوم این گجت را تا پیش از پایان سال جاری میلادی به بازار عرضه کند. اما هنوز اطلاعات کاملی از تغییراتی که در این نسل شاهد خواهیم بود در دست نیست. حالا به تازگی پتنت هایی از اپل منتشر شده است که به بعضی تغییرات احتمالی در اپل واچ اشاره می کنند.

یکی از شایعاتی که با اطمینان بیشتری از تغییرات می گوید، در خصوص افزوده شدن دوربین به اپل واچ است. عدم وجود دوربین در اسمارت واچ ها در سال های اخیر کمبودی بوده که توجه بسیاری را به خود جلب کرده است، اما با پتنت های جدید به نظر می رسد اپل احتمالا قصد دارد طعم استفاده از دوربین در ساعت های هوشمند را نیز به ما بچشاند. استفاده از دوربین در اپل واچ می تواند از تماس های ویدیویی در فیس تایم تا اسکن بارکدها متفاوت باشد.
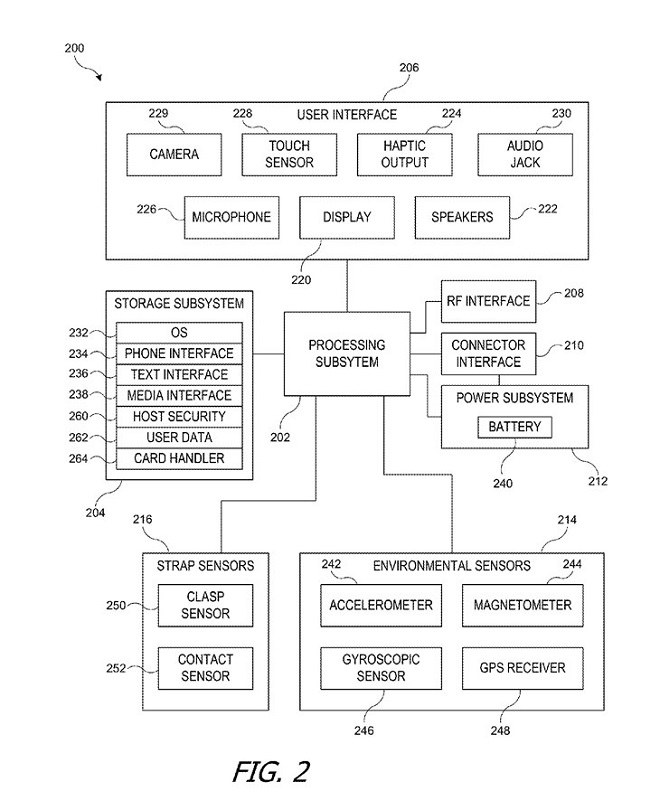
پتنتی که گواهی بر این ادعا است تصویری است که به رابط کاربری ساعت اشاره می کند. البته این پتنت شاید فقط از این حکایت کند که اپل در فکر افزودن دوربین به اسمارت واچ است، ولی در خصوص این امر که بالاخره چه زمانی دوربین ها به اپل واچ راه می یابند نمی توان نظر داد.

سایر پتنت های اپل به عملکردهای پیچ تنظیم ساعت بر روی اسمارت واچ مربوط هستند. اما در این پتنت ها موضوع قابل توجه سایر دکمه های سخت افزاری است؛ در حال حاضر فقط یک دکمه در زیر پیچ تنظیم ساعت و در لبه سمت راست قرار دارد، اما در طرح های موجود دکمه های بیشتری بر کناره سمت چپ دیده می شود.
خب، حالا طبق تجربه، باید منتظر ماند و دید آیا هیچکدام از این پتنت ها به واقعیت تبدیل می شوند یا خیر.
منبع: تک شات